Manufacturer, Exporter of Engineering Product as Forgings, Castings, Pressure Die Casting, Sintering, Sheet Metal Components, Machining Development in India. Loveson Exports
We are Trader of Engineering Product Development in India.Offers Engineering Product Development as Forging, Castings, Sintering, Sheet Metal, Machining, Moulds, Prototyping, CAD Drafting in India.Contact Engineering Product Manufacturer as well as Engineering Product Exporter in India. Enquiry for Forgings, Castings, Pressure Die Casting, Sintering, Sheet Metal Components Supplier in India.
forgings suppliers, closed die forgings, forgings exporters india, closed die forgings supplier Alloy, Stainless Steel Forging Loveson Exports
Lovson Exports
Offers Lost Wax Injection Moulds as well as Lost Wax Moulds, Lost Wax Casting in India.







Lovson Exports






   Válvulas / Colador


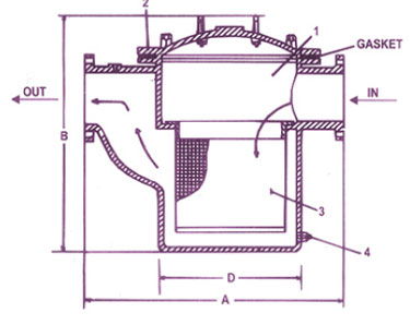
Colador Tipo Olla


 
 
 
Filtros se utilizan en el sistema de Aire acondicionado, plantas químicas, fábricas textiles, refinerías de petróleo, sistema de ventilación, las centrales térmicas, para filtrar agua, productos químicos y gases de otro líquido. Detalle de la construcción- la olla de hierro fundido y filtros tipo Y están fundidas de una buena calidad de hierro fundido, grado, CI-260 equivalente a estándar. BS-1452 El espesor de la pared de cuerpo es tan espeso para asegurar elevada seguridad para el servicio asignado y un refuerzo adicional para colar bien en sistema de tuberías.. La tapa superior se puede abrir y equipada con un número suficiente de tornillos y tuercas con el cuerpo principal. El filtro se puede cambiar sin necesidad de desconectar la línea de tubería principal. Un imán permanente está provisto con el tapón de drenaje para atraer las partículas de hierro y polvo del agua / líquido.

• Elemento filtro - Estos filtros cuentan con chapa perforada del metal / acero inoxidable / bronce

• Presión de prueba - Estos filtros están disponibles a diferentes presiones entre 150 PSI a 30 PSI (10 kgcm2 a 21 kgcm2).

• Tamaños estándar - Los filtros de olla están disponibles con conexiones extremos con bridas de 25 mm
a 300 mm. Los filtros tipo Y están disponibles en extremos de rosca de 20 mm a 50 mm y
arriba están bridados.  


No.
Descripción
Material
01
cuerpo
Cast Iron grado CI - 260
02
La tapa superior
hierro fundido de grado IC -260
03
elemento de filtro
Latón / Bronce alambre de acero / inoxidable de malla de 24 GX 14 Malla
04
Tapón magnético

Tamaño
50
60
80
110
125
150
200
250
300
D
138
160
200
210
225
255
310
350
400
B
340
370
400
470
500
570
655
730
830
A
300
350
380
420
460
520
600
700
810



No.
Descripción
Material
01
Body
Cast Iron grade CI - 260
02
Filter element
Brass/ Bronze / Stainless steel perforated sheet with 3 mm hole
03
Magnetic Plug

Filtros de tipo -CI Y
Tamaño
50
60
80
110
125
150
200
250
300
D
240
285
305
355
440
510
605
735
840
B
150
190
205
265
330
375
500
565
640


M.S. Olla y tipo Y Filtros

Estos filtros se fabrican de buena calidad del acero, al IS 226. Se proporciona la conexión de salida por debajo del nivel de conexión de entrada para reducir al mínimo la caída de presión en la tubería, y tiene más área de filtración que los filtros de hierro fundido. El filtro está fabricado de chapa perforada de latón / acero bronce / acero con agujero de perforación 3 mm. Las dimensiones están en la siguiente tabla. Un imán permanente también está provisto para atraer partículas de polvo y hierro

Material

1. Cuerpo M. S.
2. . Párpado Superior
3. elemento perforado hoja de latón / hoja de bronce / acero con 3 mm de perforación
     
Tamaño
25
40
50
65
80
100
125
150
200
250
300
350
400
A
137
137
165
165
215
215
265
265
325
355
400
550
650
B
230
250
305
355
400
425
450
500
600
762
865
915
1015
C
230
250
300
310
380
400
482
525
625
712
838
965
1145
D
85
85
100
110
125
140
155
170
200
250
275
325
350
E
120
120
170
235
280
300
305
345
430
540
640
665
700
Todas dimensiones están en mm
     
Note : Due to constant upgradation designs & dimensions are subject to change wihtout notice.
 
 
Desarrollos a medida Troquel Forjado Cerrado Troquel Forjado abierto pieza de acero fundido arenoso
Fundiciones de presión sinterización Componentes de hoja de metal
Facilidad de mecanizado Piezas fundidas de cera perdida Piezas fundidas de cera perdida
Válvulas    
Servicios inyección Moldes de Cera Perdida Moldes de inyección de plástico rápido prototipado
CAD Conversiones y Redacción