Manufacturer, Exporter of Engineering Product as Forgings, Castings, Pressure Die Casting, Sintering, Sheet Metal Components, Machining Development in India. Loveson Exports
We are Trader of Engineering Product Development in India.Offers Engineering Product Development as Forging, Castings, Sintering, Sheet Metal, Machining, Moulds, Prototyping, CAD Drafting in India.Contact Engineering Product Manufacturer as well as Engineering Product Exporter in India. Enquiry for Forgings, Castings, Pressure Die Casting, Sintering, Sheet Metal Components Supplier in India.
forgings suppliers, closed die forgings, forgings exporters india, closed die forgings supplier Alloy, Stainless Steel Forging Loveson Exports
Lovson Exports
Offers Lost Wax Injection Moulds as well as Lost Wax Moulds, Lost Wax Casting in India.







Lovson Exports






   Válvulas / Válvulas Mariposa

 


 

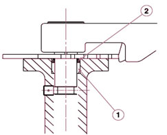
Oblea tipo Válvula mariposa con un revestimiento elastómero unido integralmente. Requiere absolutamente ningún tipo de mantenimiento es una válvula perfecta "instalar y olvidar". Disponible con un cuerpo sin pestañas o tacos, en un rango de tamaño de 50 a 600 mm, la capacidad de presión de hasta PN 16 y se ofrece con la palanca de enclavamiento o de actuación, así como diferentes combinaciones de materiales del disco y del asiento, "UNIMAC" es una válvula verdaderamente versátil.

Características

Beneficios

Asiento de la carcasa integralmente unido Fácil y libre de problemas de montaje en la tubería. Sin mantenimiento. No desgarramiento y distorsión de revestimiento. Excepcionalmente larga vida útil del alojamiento. Sellado uniforme. Adecuado para aplicaciones de vacío y de alto caudal.
Acero inoxidable eje totalmente mecanizado (Opcional) revestido PTFE Lubricación en seco Permanente. Fácil operación. Evita la corrosión en el eje.
Sellos primarios y secundarios integral con forro de cuerpo Garantiza la compatibilidad con los medios
Diferente combinación disponibles de disco y del asiento Adecuado para un amplio abanico de aplicaciones.
Función de sellado del clima Sellado atmosférica para internos de la válvula.
Disco de mecanizado y pulido esférico (opcional) Garantiza una mayor duración del asiento, operación fácil y un cierre hermético.
     
Applicaciones

General Applicaciones

Continuo Rango de temperatura de trabajo

Presión de trabajo Maximun

material del disco

material del asiento

Aceites, combustibles, agua, aire, gases, polvos, gránulos, lechadas, etc Hidrocarburos (Salvo aromáticos) - 10C a 90C Otros Líquidos - 10C a 80C Servicios Secos - 10C a 60C 16 bar Recubierto de epoxi hierro SG   nitrilo negro
Brines, agua de mar, agua de estuario, marina de achique y los sistemas de lastre Líquidos - 10C a 80C 16 bar aluminio Bronce  
Vapor, agua, gases calientes, polvos, lodos y lechadas acuosas de carácter abrasivos Líquidos - 10C a 120C servicios secos - 10C a 100C 16 bar Periferia de acero inoxidable pulido Propósito general EPDM
 
 
 

Característica adicional

  • O anillo está provisto para reducir el torque actuador de y sellado atmosférico del interior de la válvula.
  • Se contempla de hasta 600 mm de diámetro.
  • Cuello largo largo para propósitos de aislamiento bajo petición.
  • La palanca de mano desmontable para detener el mal uso de la válvula
  • La palanca de mano desmontable para detener el mal uso de la válvula
     
Tamaño de la válvula mm
(Pulgadas)
50
(2)
65
(2.5)
80
(3)
100
(4)
125
(5)
150 (6)
200 (8)
250 (10)
300 (12)
350 (14)
400 (16)
450 (18)
500 (20)
600 (24)
B
43.5
45.5
45.5
53
56.5
56.5
61
68.5
79
79
103
115
128
155
C
140
153
160
178
194
203
239
271
310
318
370
410
440
500
E - palanca de       control de flujo
      Engranaje estándar Engranaje de alta resistencia  
180 427
-
193
440
-
200 447
-
218 465
-
234 481
-
243 490
-
306 409 455
338 441 488
377
-
527
-
-
535
-
- 587
-
-
790
-
-
820
-
-
880
F
65
78
85
105
118
144
169
237
272
342
377
447
477
547
H - brida oblea        oblea tacos
103 121
110 135
130 180
161 208
193 238
220 261
273 322
328 394
378 462
438 531
489 598
532 644
580 710
685 836
N - palanca de control de flujo       Engranaje estándar
      Engranaje de alta resistenciagear unit
311 152
-
311
152
-
311 152
-
311 152
-
311 152
-
311 152
-
619 267 375
619 267 375
619
-
375
-
-
375
-
- 375
-
-
552
-
-
552
-
-
552
U - palanca de control de flujo       Engranaje estándar
      Engranaje de alta resistencia
268
76
-
268
76
-
268 76
-
268
76
-
268
76
-
268 76
-
508 187 255
508 187 255
508
-
255
-
-
255
-
- 255
-
-
437
-
-
437
-
-
437
ZN
27
47
63
83
107
136
185
234
280
328
377
424
476
573
ZF - Dia. de Volante.         Volante Engranaje estándar
        Engranaje de alta resistencia
4
152
-
10
152
-
16
152
-
23
152
-
32
152
-
45
152
-
67
250 300
88
250 300
106
-
300
130
-
300
144
-
300
163
-
578
183
-
578
220
-
578
     

Especificación Material

parte

Material de construcción

cuerpo

Hierro fundido BS 1452 Gr 220

SG Hierro a BS 2789 Gr 420/12
De acero inoxidable, ICCF8 / ICCF8M

C / S con ASTM A216 Gr. WCB

revestimiento del cuerpo

nitrilo negro

EPDM / neopreno / PTFE

disco

SG Hierro a BS 2789 Gr 420/12 con recubrimiento EPOXI

AI. Bronce según BS 1400 Gr AB2/AB1

S / S norma ASTM A351 Gr CF8/CF8M borde pulido

eje

Totalmente mecanizado SS 410 / SS304 / SS316

cojinete

 

cojinete

La palanca de control de flujo estándar

MS en polvo de hierro recubierto según BS 2789 Gr 420/12

 

Datos Torque - Nm *

Tamaño de la válvula (mm)

Presión de la línea (bar)

14

16

50

11.5

12.5

65

16.5

19.5

80

24.5

27.5

100

35.5

40.5

125

54.5

61.5

150

82

94

200

160.5

182.5

250

245

280

300

280

319

350

452.5

514.5

400

814

926

450

1048

1193

500

1326

1507

600

2663

3030

 

Operación

Tipo de válvula

Tipo de válvula

Palanca de control de flujo

50 to 300

Unidad de engranaje estándar

50 to 250

Unidad de engranaje de servicio pesado

200 to 600

 

Valoración de presión

Asiento

Valoración

Presiones de prueba (bar)

 

Cuerpo / Disc

Asiento

Negro de nitrilo / EPDM

16

24

17.6

 

Estándares

 

Tamaño(mm)

Estándares

Cara a cara

50 to 300

BS 5155 - oblea Corto
API 609 - Categoría A
MSS SP 67 - Cuerpo Estrecho
ISO 5752 - A corto
ES 13095

350 a 600

BS 5155 - oblea Medio
PI 609 - Categoría A (Excepto DN 350)
MSS SP 67 - Cuerpo ancho
ISO 5752 - Mediano
ES 13095

Diseño de la válvula

BS 5155/IS 13095 - Especificación para válvulas de mariposa

API 609 - Válvulas de mariposa Tipo arrastre y oblea

MSS SP 67 - Válvulas de mariposa

ISO - válvulas metálicas para utilizar en sistemas de tubería con bridas. dimensiones de cara a cara y del centro a cara

 
Bridas

Las válvulas son de tipo de diseño corto y han sido diseñados para encajar entre bridas sin juntas perforadas hasta la BS 10 tablas "D", "E" y "F", ANSI 125/150, DIN PN 10/16, BS 4504 (PN 10/16), las Tablas 6 a 9 de la IS: 6418, cuadro 10 al 20 de IS: 6392 y las Tablas 4 a 6 de la IS: 1538

Accesorios

Válvulas de mariposa UNIMAC se pueden suministrar con neumático montado de fábrica, los actuadores hidráulicos o eléctricos, junto con otros accesorios, como interruptores de límite, anulaciones manuales, posicionadores etc para formar un paquete completo de control de flujo. Engranaje de alta resistencia se suministran para válvulas para que estén equipados con actuadores eléctricos.

Instrucciones de instalación, funcionamiento y mantenimiento de la, disponibles bajo petición.
     
Nota : Debido a las constantes actualizaciones los diseños y dimensiones están sujetos a cambios sin previo aviso.

 

 


Desarrollos a medida Troquel Forjado Cerrado Troquel Forjado abierto pieza de acero fundido arenoso
Fundiciones de presión sinterización Componentes de hoja de metal
Facilidad de mecanizado Piezas fundidas de cera perdida Piezas fundidas de cera perdida
Válvulas    
Servicios inyección Moldes de Cera Perdida Moldes de inyección de plástico rápido prototipado
CAD Conversiones y Redacción    



Home | Perfil | Contacto | Solicitud